2025年7月21日星期一

AMD大神创业国产GPU,也冲刺IPO了

估值105亿元

克雷西 发自 凹非寺
量子位 | 公众号 QbitAI

又一家国产GPU启动了IPO进程!

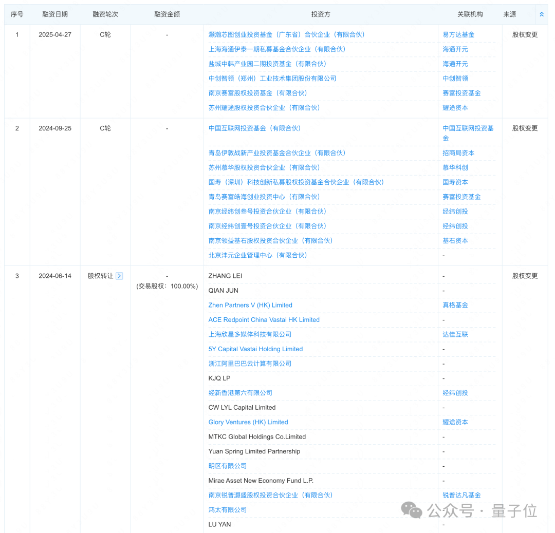
证监会官网显示,来自上海的GPU独角兽瀚博半导体已启动A股IPO辅导,辅导机构为中信证券。

图片

这个创始团队来自AMD的公司,注册资本为5.43亿元,在启动上市之前就已经完成数轮融资,累计融资金额达数十亿元。

其投资方包括中国互联网投资基金、快手、阿里巴巴、联发科、真格基金、招商局资本等知名机构。

胡润研究院的《2025全球独角兽榜》显示,目前该公司估值已经达到了105亿元

图片

根据备案报告中的辅导工作安排,瀚博的辅导成果将在今年10-11月验收。

谁是瀚博?

上市辅导备案报告显示,瀚博半导体成立于2018年12月,注册资本为5.43亿元,法定代表人是杨勤富。

实际控制人方面,公司创始人钱军和联创张磊通过直接和间接方式以及员工持股平台,合计控制公司42.1465%的表决权,二人签署了一致行动协议,成为共同实际控制人。

公司不存在直接持股30%以上的单独股东主体,没有控股股东。

图片

瀚博半导体官网介绍,其主营业务是为智能核心算力图形渲染提供全栈式芯片解决方案,目前拥有自主研发的核心IP以及两代GPU芯片,提供适用于通用计算和图形渲染的GPU产品。

2021年7月,瀚博半导体发布了首款服务器级AI推理芯片SV102,2023年7月又发布了第二代全功能GPU芯片SG100。

基于两款芯片,瀚博半导体设计了瀚博统一计算架构VUCA(Vast Unifined Computing Architecture),搭载流媒体、推理和图形处理三大加速引擎,提供Vaststream统一API接口及极简业务应用开发套件。

瀚博目前有载天系列智算加速卡、载天系列智能视频加速卡,以及南禺系列数据中心显卡等产品。

图片

此外,瀚博半导体还经营数据中心和边缘计算业务。

图片

人才方面,瀚博半导体拥有500人以上的资深研发团队,研发人员占比80%以上,硕士及以上学历占比超70%

前AMD技术骨干创业成果

瀚博半导体的联合创始人钱军张磊,都具有AMD背景。

CEO钱军1995年硕士毕业于爱荷华大学,此前是上交大校友,他拥有近30年高端芯片设计经验。

硕士毕业后钱军加入LSI担任设计工程师,1998年加入思科,2009年离开时是思科硬件工程高级主管。

2009年,钱军加入AMD,职位是SoC设计主管,2015年成为GPU SoC设计高级主管,工作地点在上海。

其间,钱军曾带领AMD团队设计量产了业界第一颗7nm GPU——MD Radeon Instinct MI60。

2018年10月,钱军结束了在AMD九年多的工作,并于当年年底创立瀚博半导体。

图片

CTO张磊(Louis Zhang),本科分别毕业于加拿大滑铁卢大学和多伦多大学。

张磊1999年硕士毕业,2004年加入AMD,担任ASIC架构师并在2013年成为AMD Fellow,工作地点在多伦多。

其间,张磊担任了AMD视频编解码、视频和图像处理领域的最高技术负责人。

2018年4月,张磊离开AMD。

图片

在此前的A、A+和B轮融资当中,瀚博半导体已经获得5000万美元(按当时汇率约合3.3亿人民币)和21亿人民币的资金。

图片
来源:企查查

去年9月到今年,瀚博半导体又进行了C轮融资。

图片
来源:企查查

瀚博官网显示,其主要投资者包括快手、阿里巴巴、联发科等知名企业。

图片

国产GPU密集IPO

最近一年可谓是国产GPU厂商密集上市的一年。

去年8月,同样具有"AMD基因"、专注AI训练和推理芯片的燧原科技启动IPO辅导,估值160亿元。

在启动IPO前,燧原科技已融资近70亿元,其中腾讯连续六次投资,作为燧原第一大股东,持股比例为20.49%。

一个月后(2024年9月12日),上海壁仞科技也宣布启动IPO上市辅导。

官网显示,它致力于开发原创性的通用计算体系,建立高效的软硬件平台,同时在智能计算领域提供一体化的解决方案。

11月,拥有"英伟达基因"的摩尔线程也启动A股上市辅导;今年1月,沐曦股份的IPO辅导也官宣启动。

今年6月,摩尔线程和沐曦股份相继完成IPO辅导,打响了国产GPU第一股的争夺战,两家公司的IPO申请同一天获得受理。

7月17日和19日,摩尔线程和沐曦股份的科创板IPO,已先后进入问询阶段。

总之,对于国产GPU的上市进展,我们不妨继续期待。

参考链接:
[1]https://www.vastaitech.com/company/about
[2]https://www.hurun.net/zh-CN/Rank/HsRankDetails?pagetype=unicorn


一键三连「点赞」「转发」「小心心」

欢迎在评论区留下你的想法!

—  —


专属AI产品从业者的实名社群,只聊AI产品最落地的真问题 图片 扫码添加小助手,发送「姓名+公司+职位」申请入群~
图片
进群后,你将直接获得:
 👉 最新最专业的AI产品信息及分析 🔍 
 👉 不定期发放的热门产品内测码 🔥
 👉 内部专属内容与专业讨论 👂


🌟 点亮星标 🌟

科技前沿进展每日见

没有评论:

发表评论

Alibaba's Qwen-Image 2512 Turbo : Generate 4 2K Images in 5 Seconds, 40x Faster。

Summary: Alibaba's new Qwen-Image 2512 Turbo model slashes image generation steps from 80-100 to just 2, boosting speed 40x. This open-s...